¿Rodillo inteligente de SRAM a la vista?
Bicicleta indoor, rodillo inteligente, precaución o simple bomba de humo. Las últimas patentes que SRAM ha registrado apuntan más o menos en esa dirección, pero ¿qué acabará fraguando finalmente?
Patente de SRAM: todos alerta
En esto de las patentes hay mucho papel mojado. Muchos desarrollos que no acaban de ver la luz, muchas compras por parte de gigantes por una simple precaución para que, en caso de que esa cuestión explote o sea un éxito, tener una llave de ese éxito.

SRAM lo hizo en numerosas ocasiones, y constantemente nos tiene con la mosca detrás de la oreja: ¿nuevos desarrollos? ¿Pruebas solamente? Pasó con Quarq y PowerTap, una para desarrollar sus medidores de potencia, y la otra también aunque pareció más precaución que otra cosa.
RECOMENDADO
Nuevo pulsador SRAM AXS Rocker
La patente de SRAM que propone un nuevo sistema de doble plato sin desviador
Shimano patenta un protector para frenos de discos
Potenciómetro de una pierna o de dos ¿Cuál elegir?
Bici estática o rodillo ¿qué es mejor?
Por qué la mayoría de ciclistas lleva las gafas por fuera del casco
En esta ocasión el fabricante ha registrado dos nuevas patentes: una de lo que parece que podría ser una bicicleta de interior; otra, para lo que aparenta ser un sistema de rodillo inteligente.
Las dos patentes de SRAM. ¿Un rodillo inteligente?
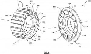
La primera de esas patentes es sin duda la más interesante, o al menos la que más nos ha llamado la atención. Porque se trataría de un rodillo SRAM, un rodillo inteligente que podría entrar de lleno en un segmento que ha sido todo un éxito en 2020 y que tiene unas previsiones excelentes.

Lo novedoso de ese rodillo reside en que relativizaría la importancia del cassette. No tendrías que andar preocupándote de compatibilidades o de ir cambiando el cassette ya que en los dibujos presentados se observa cómo el rodillo inteligente de SRAM estaría formado por dos piezas, dos piezas que se acoplarían para transmitir la potencia al rodillo, pero que se separarían para montar tu bici de calle.

O sea que daría igual tu cassette y otras tantas cosas, porque simplemente montando tu bici sobre el rodillo podrías usarlo, al unirse ambas tracciones.
Ahora mismo estarán salvando los peros: aportaría mayor peso a la bici y menor compatibilidad. Pero si consiguen hacer que no incumba en el uso de cualquier otro rodillo o que su peso sea de apenas unos gramos, puede suponer el salto de SRAM al mundo de los rodillos inteligentes.

La segunda patente es menos rara al ojo. Una especie de bicicleta estática con un par de particularidades: plegable y muy compacta; y con piezas intercambiables, por si hay que hacer una actualización o mejorar algún componente. Además, incorpora una pantalla muy grande e integrada, por lo que no tendrías que depender de tu tablet o tu PC y encontrar problema alguno de compatibilidades.

En resumen: ideas. Ideas de un gigante como SRAM que puede que pronto se conviertan en algo más.