SRAM patenta un cambio por voz y por movimiento de dedos
Hace ya unos cuantos años revolucionaron el paradigma de los cambios electrónicos implantando el funcionamiento inalámbrico que, posteriormente ha sido incorporado por sus rivales. Ahora, SRAM pretende ir más lejos cambiando completamente la forma en la que interactuamos con la transmisión de nuestra bicicleta.

¿Es posible eliminar los mandos de cambio de nuestra bici? Esta es la idea de SRAM
Viendo la última patente que acaba de presentar SRAM nos viene a la cabeza la frase se Elon Musk que dice que la mejor pieza es aquella que no es necesaria. Algo así han debido pensar en SRAM a la hora de decidir que los mandos de cambio de la bici son un elemento prescindible, proponiendo nuevas maneras de accionar la transmisión.
Como siempre, recordaros que cuando las marcas presentas patentes lo hacen en una primera instancia para evitar que sus rivales puedan utilizar ideas que se les han ocurrido. No significa que estén desarrollando nada. Simplemente es una idea que luego podrá seguir adelante o no.
RECOMENDADO
Los 5 mejores desayunos para bajar de peso
Rutas ciclistas (MTB, carretera y gravel) imprescindibles para disfrutar del otoño en España
El arte del equilibrio: compatibilizar trabajo, familia y bici sin perder rendimiento
Cómo pedalear más rápido sin entrenar más: trucos que marcan la diferencia
Nutrición ciclista inteligente: 10 smoothies para antes, durante y después de entrenar
Qué GPS Garmin necesitas: precios y modelos actualizados 2025
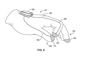
En esta ocasión lo que plantea SRAM son varios métodos de accionamiento de los cambios de la bici diferentes, comenzando por un método táctil que utilizaría unos guantes sensorizados que detectarían determinados movimientos de los dedos para realizar el accionamiento. Explorando el documento podemos ver varias propuestas de movimientos como presionar entre sí las yemas de los dedos índice y pulgar, presionar con el dedo índice contra la superficie del manillar o realizar una hiperextensión de algún dedo.
Estos gestos serían compatibles entre sí ofreciendo al ciclista diversas opciones en función de sus preferencias o posición del agarre en el manillar y la forma de actuar sería similar a la de los actuales grupos AXS, es decir, mano izquierda para subir piñones, derecha para bajar y ambas a la vez para alternar entre plato grande y pequeño.

Obviamente, el pero de esta opción es la necesidad de utilizar un guante especial que debe de alojar la electrónica y una pequeña batería con la que alimentarse, para poder realizar sus funciones. Para evitar esto, SRAM propone también otro método de accionamiento del cambio algo que cada vez más común como es el accionamiento por voz.
En este caso sería como cuando hablamos a Alexa o a nuestro móvil para que seleccionen un canal en la televisión o reproduzcan nuestra música favorita. En vez de esas trivialidades, le pediríamos directamente a nuestra bici “sube un piñón”, “quita plato” a través de un micrófono que llevaríamos en el casco. Aunque habría que ver cómo se comporta el invento en esos momentos en los que vamos escalando un puerto a todo lo que dan nuestras fuerzas y de nuestra garganta únicamente salen jadeos, nada inteligible.
De cualquier forma, son propuestas que podrán tener o no un recorrido y que demuestran el espíritu de innovación de SRAM que, como os contábamos al inicio, ya sorprendió en su día con su grupo inalámbrico e incluso, había quien hablaba de que la marca podría estar trabajando también en unos frenos sin latiguillos, aunque eso es otra historia.