¿El futuro de los frenos MTB? SRAM patenta un diseño universal que podría ser un nuevo estándar
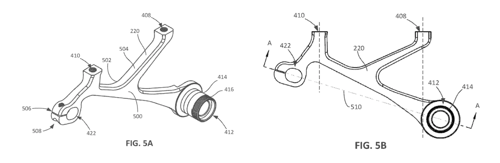
Tras el éxito de su sistema UDH (Universal Derailleur Hanger) para la patilla de cambio, SRAM acaba de conseguir una nueva patente que podría cambiar el diseño actual del soporte para la pinza trasera de freno. El SRAM Universal Brake Mount es un soporte de freno enroscado al eje trasero, como lo hace su patilla UDH, y atornillado al tirante. Esto podría establecer un nuevo estándar en la industria del MTB.
SRAM Universal Brake Mount: una revolucionaria patente para el soporte de la pinza trasera de freno: el sistema prioriza la precisión y la eficiencia
En la patente registrada por SRAM y sacada a la luz por Pinkbike, el diseño de este soporte de freno propone una solución a uno de los problemas más comunes en los sistemas actuales: la alineación de la pinza trasera de freno debido a las tolerancias de fabricación de los cuadros. Este nuevo sistema fija el soporte directamente al eje trasero, de la misma manera que lo hace la patilla UDH, y con otro punto de anclaje en el tirante del cuadro. De esta forma, la pinza de freno se alinea de manera precisa con el disco de freno, evitando ajustes extra y mejorando el rendimiento en la frenada.

Además, la patente señala que este diseño reduce significativamente el estrés sobre el cuadro, ya que transfiere las cargas de frenado directamente al soporte en lugar de al propio cuadro. Esto no solo mejoraría la durabilidad de los cuadros, sino que también reduce vibraciones y los molestos ruidos de frenado.
RECOMENDADO
30 regalos ciclistas para acertar en Navidad (y todo el año)
La paciencia del ciclista: cómo los entrenamientos largos y suaves construyen tu mejor temporada
Los 10 mandamientos del ciclista que no teme a la lluvia
30 regalos ciclistas para acertar en Navidad (y todo el año)
Unos días de excesos navideños apenas alteran tu metabolismo, según la ciencia
¿Dónde mirar la fecha de caducidad de un casco para ciclismo?
Manías ciclistas que solo entendemos los que damos pedales
La idea de un soporte de freno anclado al eje trasero no es nueva y ya lo hemos visto en mountain bikes como la MMR Kenta o la Ghost AMR Riot, pero el enfoque de SRAM busca estandarizar este concepto, haciéndolo compatible con una amplia gama de diseños de cuadros y sistemas de suspensión. Sin embargo, no será viable en todos los casos ya que algunas bicis tienen pivotes de suspensión incompatibles con este sistema.
En cualquier caso, la adopción de este soporte por la industria podría significar un nuevo cambio de paradigma en la fabricación de cuadros y otro gran punto que se anotaría SRAM en su marcador al establecer de nuevo un camino común. Por su parte, los fabricantes de cuadros podrían beneficiarse de este sistema, al reducir los costes asociados al desarrollo y fabricación de los soportes de freno, además de ofrecer mejoras en seguridad, peso y durabilidad.

¿Que podría haber detrás de este soporte?
Esta patente de SRAM no solo abre la puerta a una posible estandarización de los soportes de freno y una mejora integral en el rendimiento en la frenada, sino que también podría ser el primer paso del gigante estadounidense para en un futuro presentar quizás alguna nueva tecnología al igual que ya sucedió con los grupos Transmission.
SRAM primero presentó y ofreció de manera desinteresada su patilla de cambio UDH para luego, cuando los fabricantes de cuadros ya habían aceptado el estándar, presentar un nuevo cambio que iba anclado directamente a este tipo de cuadros.
Estaremos atentos a nuevas actualizaciones por parte de SRAM y a la respuesta de los fabricantes. ¿Será este el próximo gran avance en el mundo del MTB? El tiempo lo dirá, pero las expectativas son altas.