Shimano patenta una nueva patilla de cambio y apunta a un grupo 1x13
La eterna competencia entre Shimano y SRAM podría sumar un nuevo capítulo tras la publicación de una patente que revela un sistema de patilla de cambio de dos brazos y la posible llegada de una transmisión inalámbrica de 13 velocidades. La solicitud, identificada como US 18/653358, muestra un concepto inédito en la marca japonesa que podría transformar la forma en la que sus futuros grupos Di2 se fijan al cuadro.
Shimano patenta una patilla de cambio con un diseño a medio camino entre el UDH y el Full Mount de SRAM
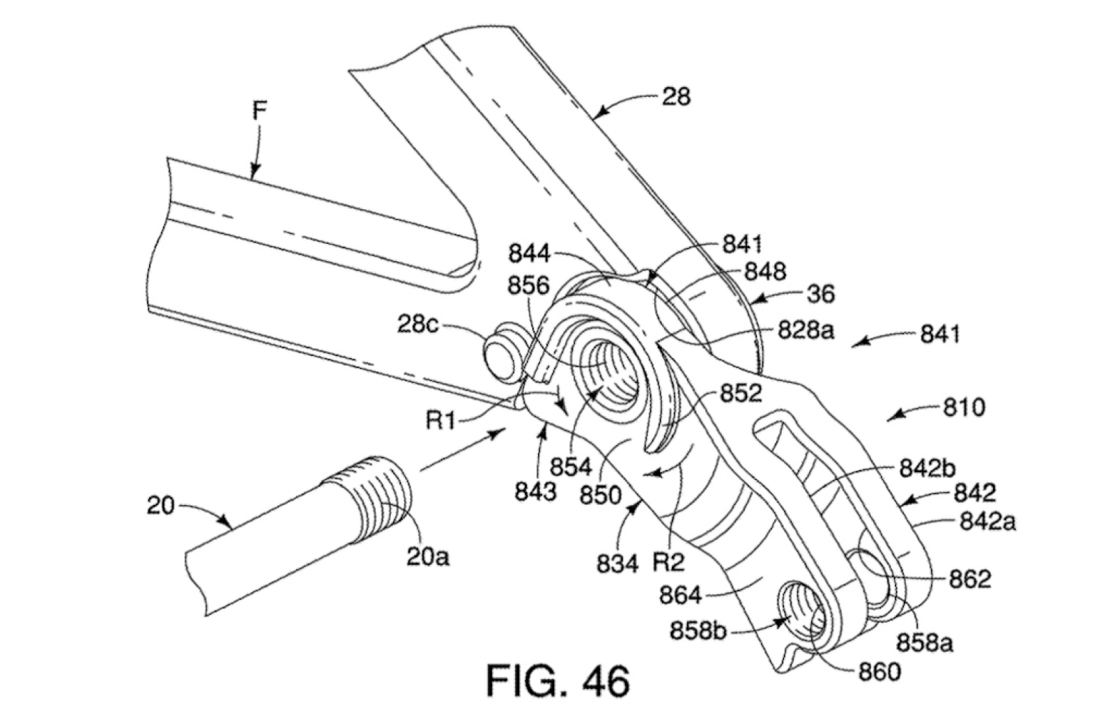
El documento, descubierto recientemente por Pinkbike en bases de datos de patentes, describe una patilla que sujeta el cambio entre dos brazos metálicos, en lugar de anclarlo a un solo lado del cuadro como en los diseños tradicionales. Este sistema contrasta con el Full Mount de SRAM, donde el cambio forma un bloque único que se acopla al cuadro por ambos lados de la puntera. En el caso de Shimano, las dos piezas “abrazan” directamente el cuerpo del cambio y no el cuadro, ofreciendo un refuerzo estructural adicional.

La base del conjunto mantiene compatibilidad con el estándar UDH (Universal Derailleur Hanger), ampliamente extendido entre los fabricantes de cuadros. Todo apunta a que esta nueva configuración busca aumentar la rigidez y la precisión de cambio, dos aspectos que ya son críticos en las transmisiones electrónicas actuales.
RECOMENDADO
¿Qué cambia en una bici de 10.000 € frente a una de 3.000 €?
Consejos para mantener la motivación de salir a rodar cuando el frío, la lluvia o la noche acechan
Elegir plato y cassette: guía para elegir la relación adecuada y alargar la vida útil de tu bici
Fabricantes de caravanas, supermercados o electrolineras: a qué se dedican los patrocinadores World Tour 2026
Calendario completo de Ciclocross 2025-26: Copa del Mundo, Superprestige, Troféo X2O, Exact Cross y Mundial
Culotte largo Gobik Grit: probamos una de las prendas más inteligentes del catálogo de Gobik
Aunque esta rigidez extra podría ir en contrar de lo que Shimano siempre ha defendido, la idea de que la patilla debe doblarse o romperse para proteger el cambio, también podría reducir desviaciones tras impactos y mejorar la alineación en los sistemas de alta precisión.
Más allá del diseño de la patilla, el mismo documento de patente menciona explícitamente una transmisión con trece coronas en el cassette y un motor integrado en el propio cambio, lo que apunta sin rodeos a una nueva generación de grupos Di2 totalmente inalámbricos.

En las ilustraciones incluidas en la solicitud se aprecian detalles más cercanos a un cambio de carretera o gravel que a un modelo de MTB, lo que ha hecho pensar a muchos que Shimano podría estar preparando su desembarco en el segmento gravel de gama alta con un grupo de 13 velocidades electrónicas. Sin embargo, no se descarta que esta arquitectura se extienda también al mountain bike en una fase posterior.
La llegada de un 13 v podría situar a Shimano frente a rivales que ya han dado el paso, como SRAM con sus transmisiones T-Type o Rotor, ampliando el rango y reduciendo los saltos entre marchas, una evolución especialmente atractiva para el gravel de competición.
Por ahora, se trata únicamente de una patente, sin confirmación oficial por parte de Shimano. Pero la aparición del documento coincide con la renovación reciente de los grupos XTR, XT y Deore Di2, lo que hace pensar que la marca japonesa ya tiene avanzado su siguiente movimiento tecnológico.
Si el diseño llega a producción, podríamos estar ante un nuevo estándar de anclaje que combine compatibilidad con el UDH, mayor rigidez estructural y un salto generacional hacia los 13 piñones electrónicos e inalámbricos.