Shimano quiere hacer algo muy nuevo con el desviador trasero
La marca japonesa vuelve a intrigar a todo el mundo del ciclismo con el registro de una curiosa patente que puede suponer un cambio total en la forma de entender el funcionamiento del cambio, del buje trasero y hasta en la estructura de las punteras de las bicis. Varias son las especulaciones que se han dejado leer acerca de la finalidad última de este nuevo diseño.

¿Está preparando Shimano un nuevo estándar de cambio trasero?
La guerra entre Shimano y SRAM, unos por mantener su hegemonía y los otros por ir rascando cuota de mercado al gigante japonés está provocando que ambas marcas se encuentren en plena tormenta de ideas buscando diseños y soluciones que, en primer lugar, puedan mejorar sus productos actuales y, por otro lado, algo mucho más importante, obliguen los fabricantes de bicis a utilizar sus tecnologías específicas lo que, a la larga, implica que se utilicen sus productos.
Hace un par de meses era SRAM quien golpeaba con la presentación de sus grupos de mountain bike Eagle Transmision entre los que destacaba el sistema de anclaje directo del cambio al cuadro buscando dotar a este de una resistencia total en cualquier circunstancia.
RECOMENDADO
Exclusiva: nueva suspensión electrónica RockShox para Nino Schurter
Valero estrena un nuevo prototipo de BH Lynx Race en Lenzerheide
Black Friday Garmin 2025: guía definitiva para elegir tu GPS al mejor precio
¿Necesitas suspensión en tu bici de gravel?
¿Estás cansado o sobreentrenado? Aprende a diferenciarlo
Corto, intenso y efectivo: la sesión de rodillo que te salvará el entrenamiento
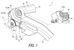
Ahora, hemos conocido la presentación por parte de Shimano de una patente en la que parece desarrollar un sistema de punteras traseras que nada tiene que ver con lo utilizado hasta ahora en ningún tipo de bici y cuya finalidad se desconoce aunque, por supuesto, las conjeturas en las redes no han tardado en aparecer.

El sistema propuesto es una pieza que se ancla a la estructura del cuadro en la que se incluiría la patilla para atornillar el cambio, de aspecto convencional, y por delante, bajo la vaina, una pequeña caja de finalidad desconocida. Además, se añade una especie de casquillo en el lateral de la vaina que no sabemos si permite la oscilación arriba y abajo de todo el conjunto o se trata de algún tipo de regulación.
La hipótesis que más suena al respecto de la finalidad de este diseño es que se trate de algún sistema de autocarga de batería que, aprovechando un buje con dinamo agregase electricidad ya sea a las baterías de una eBike o a la de los cambios electrónicos, para así maximizar la autonomía.
También se ha hablado, tomando como referencia la línea abierta por SRAM, que se pueda tratar de un nuevo estándar para anclar el cambio trasero. Sin embargo, parece poco probable al contar el diseño de la patente con una patilla que aparentemente es convencional.

El pequeño casquillo lateral que se ancla en la vaina ha hecho especular a otros con que resulte ser un tipo de puntera pensado para bicletas de doble suspensión, buscando reducir la interferencia de los movimientos de la suspensión en la transmisión. En esta línea, también pudiera ser un sistema de estabilización de cadena.
En todo caso, debemos recordar que se trataa únicamente de una patente. Las marcas están constantemente registrando cualquier idea o solución que surge en sus departamentos de diseño, no porque la vayan a usar o se trate de algo en lo que están trabajando sino, simplemente, para evitar que otros puedan aprovecharse de esa misma solución si al final resulta ser algo útil. O sea, que pese a la expectación creada es imposible determinar si se trata de algún proyecto sólido de Shimano o simplemente una idea patentada más que quizás, jamas llegue a nada.